Avvia e controllo della velocità dei motori di trazione CC:
L’avvio e il controllo della velocità dei motori di trazione CC – come già discusso, solo le serie composte e i motori DC sono adatti per il lavoro di trazione.
Controlli per motori cc
Con un motore Serie DC, la corrente di corrente e la coppia possono essere ridotte rafforzando il campo o abbassando la tensione del terminale o entrambi. I motori possono essere inseriti in serie, riducendo la tensione terminale di ciascuno senza perdita di resistenza esterna.
La resistenza esterna può essere inserita in serie con i motori per limitare la corrente iniziale a qualsiasi valore desiderato e, variando la resistenza, la corrente può essere mantenuta costante durante il periodo dei martelli, come desiderato, poiché l’EMF posteriore è in costruzione.
Poiché la coppia massima all’avvio richiede una resistenza completa sul terreno, qualsiasi connessione di shunt o campo ridotto viene generalmente respinto all’avvio.
Con il motore composto DC, l’inizio può essere effettuato con una corrente di rinforzo completa nella serie della serie e la corrente massima nelle bobine di shunt da campo.
Una resistenza di avvio inserita nel circuito di rinforzo viene ridotta nelle fasi fino a quando il telaio e il campo della serie sono collegati attraverso la linea.
Un aumento della velocità aggiuntiva è influenzato dalla riduzione della corrente del campo di shunt nei passaggi fino al punto in cui l’avvolgimento del campo di shunt è disconnesso e l’azione è quindi identica a quella di un semplice motore standard.
Di seguito vengono discussi vari metodi utilizzati per l’avvio e il controllo dei motori di trazione DC.
1. Controllo reostatico
Una serie in serie può essere avviata collegando una resistenza esterna (avviatore) in serie con il circuito principale del motore.
Nel momento di partenza, poiché l’EMF posteriore sviluppato dal motore è zero, quindi la resistenza collegata in serie con il motore è massima ed è di tale valore che la tensione scende attraverso di essa con una corrente di carico a pieno carico è uguale alla tensione di linea.
Man mano che il motore accelera, l’EMF posteriore sviluppata dal motore aumenta, pertanto, la resistenza esterna viene gradualmente ridotta per mantenere la corrente costante per tutto il periodo di avvio o accelerazione.
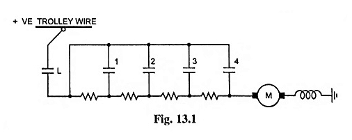
Il circuito di base del motore di trazione con avvio reostatico è illustrato nella Figura 13.1. In questo metodo, vi è una notevole perdita di energia nel circuito esterno.

I resistori utilizzati sono progettati per la valutazione a breve termine e non per la valutazione continua perché sono necessari per trasportare la corrente solo quando si avvia i motori. Il motore può quindi avere solo una caratteristica di velocità.
2. Controllo parallelo della serie
Lo svantaggio principale dello spreco di energia elettrica nel controllo reostatico è parzialmente superato in questo metodo quando ci sono due o più motori.

Nel caso di due motori, i motori sono prima collegati in serie tra loro e una resistenza di avvio o di controllo, come illustrato nella Figura 13.2 (a).
La resistenza aggiuntiva viene gradualmente tagliata dal controller quando i motori raggiungono la velocità e infine la resistenza di controllo viene completamente rimossa, quindi ogni motore ha la metà della tensione della linea attraverso di essa, come mostrato nella Figura 13.2 (b). Questa è la prima posizione di corsa.
In questa posizione per un determinato valore di corrente di rinforzo, ciascun motore funzionerà a metà della sua velocità normale.
Poiché non vi è alcuna resistenza esterna nel circuito, non vi sono sprechi di energia e quindi i motori funzionano con un’efficienza quasi uguale a quella disponibile con una tensione di linea completa sul terminale di ciascun motore.
Nel passaggio successivo, i due motori sono collegati in parallelo e in serie con una resistenza variabile R, come mostrato nella Figura 13.2 (c).
Questa resistenza viene gradualmente ridotta quando i motori raggiungono la velocità e infine quando questa resistenza viene completamente rimossa dal circuito, come illustrato nella Figura 13.2 (d), si ottiene la seconda posizione di gara.
In questa posizione, ciascun motore è collegato attraverso la tensione di linea completa. Un diagramma di connessioni che illustra la sequenza di commutazione è riportato nella Figura 13.3.

3. Controllo del campo.
Poiché la velocità del motore è inversamente proporzionale al flusso (assumendo una costante di tensione di linea), la velocità può quindi variare variando il flusso.
Nel caso dei motori seriali, il flusso può essere variato (i) collegando una resistenza variabile nota come intrattenimento in parallelo con l’avvolgimento della serie della serie (fare riferimento alla Figura 13.4) o (ii) tagliando alcune delle curve nel campo della serie (vedi Figura 13.5).
Poiché in entrambi i casi, il flusso può essere ridotto solo, questo metodo è noto come metodo di indebolimento del campo e le velocità superiori al normale possono essere ottenute.
Con questo metodo, la velocità può essere aumentata del 15-30% della velocità normale a causa delle difficoltà di progettazione risultanti dai motori di trazione.

Il metodo per indebolire il campo è senza utilizzo a fini di partenza. Questo metodo viene utilizzato per aumentare la velocità dei motori di trazione fino al 10 o 15% quando hanno raggiunto la massima velocità possibile dal sistema di controllo parallelo della serie. Il vantaggio di questo sistema è che aumenta la flessibilità dell’utilità del treno.

Ad esempio per il servizio cittadino, la velocità richiesta è bassa e di interruzione e arresto frequente, l’attrezzatura può funzionare con il campo completo.
Quando lo stesso veicolo deve essere utilizzato per le linee suburbane e l’interurbano in cui sono necessarie velocità più elevate, sarebbe necessaria una variazione del rapporto di velocità. Utilizzando il metodo del campo di controllo della velocità, è possibile eliminare la necessità di modificare il rapporto di velocità.
Pertanto, un tipo di attrezzatura può essere utilizzato per gestire vari tipi di servizi con un consumo di energia ragionevole.
4. Controllo della locomotiva del generatore del motore
L’intero generatore di motori è generalmente costituito da un motore sincrono monofronico che conduce uno o due generatori CC e un eccitatore sullo stesso albero. Il set viene generalmente avviato ed evidenziato da un motore iniziale e sincronizzato automaticamente quando raggiunge la velocità.
La tensione del generatore è regolata dal controllo del campo dall’eccitatore, pertanto non è necessaria alcuna resistenza nel circuito di disegno del motore di trazione o il controllo parallelo della serie è necessario per ottenere velocità di funzionamento economico o salvare perdite di reostat nel controllo del motore di trazione.
Una disposizione parallela in serie viene talvolta utilizzata per risparmiare le dimensioni e il peso del generatore.
5. Controllo della locomotiva elettrica diesel
Come già discusso in precedenza, la locomotiva elettrica diesel ha preso importanza negli ultimi decenni e ha ampiamente sostituito la locomotiva a vapore, in molte regioni del mondo.
Principalmente un lettore diesel-elettrico, utilizzato sulla locomotiva, è un sistema di conversione di potenza autonoma in cui un motore diesel fornisce motori di potenza ai motori tramite un generatore CC che funziona.
Pertanto, ci sono tre parti fondamentali nella locomotiva diesel, vale a dire il motore diesel, il generatore DC e i motori di trazione della serie DC.
Il motore diesel porta al generatore e il generatore fornisce un alimentatore CC ai motori di trazione, che a loro volta alimentano la potenza del modello per guidare il veicolo. Il campo del generatore è indirettamente eccitato da una batteria la cui tensione può variare di un reostato.
La tensione della batteria varia a sua volta la tensione di un eccitatore ausiliario o di un amplidyne e questo eccita il generatore principale.
La tensione del generatore è quindi sotto controllo e questa forma di controllo rende inutili griglie di resistenza nei circuiti principali del motore per proteggere i motori di trazione per l’avvio e l’accelerazione.
La velocità del motore è normalmente controllata da un regolatore di carico che carica il motore in funzione dell’impostazione del controller.
Questo regolatore mantiene automaticamente un’uscita costante, poiché se il motore richiede più carburante di quanto previsto per la regolazione, il regolatore riduce l’eccitazione del campo e quindi impedisce il motore vinto. Esistono diversi tipi di controllo del motore diesel, ma seguono tutti questo principio.